艾云2022年双十一活动专区VPS方案见:艾云双11活动:年付189元起,美国西雅图4837线路VPS(斯巴达同款)打头阵,免费20Gbps DDoS防御,解锁美区TikTok、奈飞流媒体,艾云怎么样?艾云2022年双十一活动专区VPS测评:美国原生IP,西雅图4837线路,解锁美区TikTok、奈飞流媒体,具体如下:

艾云Aiyun Network官网:门户首页 - 艾云 (iaclouds.com)
艾云双11优惠专区入口:https://iaclouds.com/cart.php?gid=28
艾云2022年双十一活动专区VPS测评:
bgp.he.net看下是不是美国原生IP,确为美国原生IP,如图:

艾云2022年双十一活动专区VPS配置信息测试、解锁美区奈飞和美区TikTok流媒体

看看艾云2022年双十一活动专区VPS网络延迟情况

艾云2022年双十一活动专区VPS丢包率情况

艾云2022年双十一活动专区VPS FIO测试硬盘读写、iperf3针对欧美的节点的数据测试

其他流媒体解锁情况

艾云2022年双十一活动专区VPS国内外节点测速

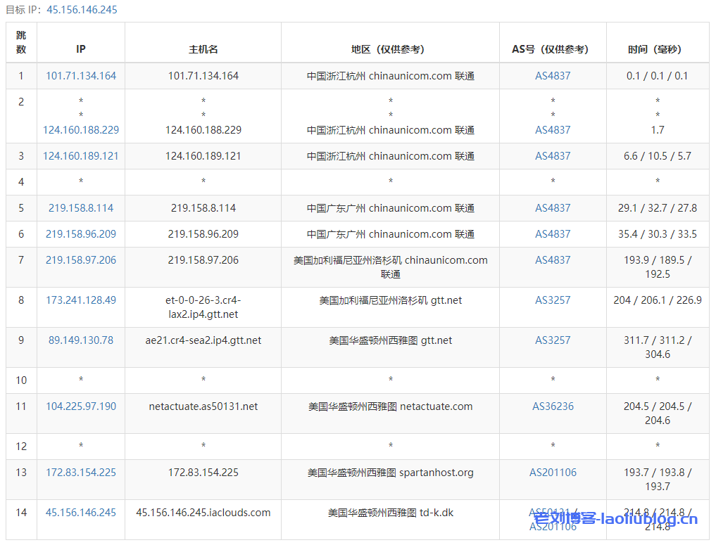
艾云2022年双十一活动专区VPS去程路由追踪测试
电信去程

联通去程

移动去程

艾云2022年双十一活动专区VPS回程路由追踪测试
Traceroute to China, Guangzhou CT (TCP Mode, Max 30 Hop)
============================================================
traceroute to 113.108.209.1 (113.108.209.1), 30 hops max, 32 byte packets
1 45.156.146.1 0.10 ms AS50131,AS201106 United States, Washington, Seattle, superfiber.dk
2 172.83.154.224 2.20 ms AS201106 United States, Washington, Seattle, spartanhost.org
3 172.83.154.1 0.28 ms AS201106 United States, Washington, Seattle, spartanhost.org
4 *
5 23.225.225.65 25.11 ms AS40065 United States, California, Los Angeles, ceranetworks.com
6 219.158.97.177 197.58 ms AS4837 China, Shanghai, ChinaUnicom
7 219.158.6.209 194.43 ms AS4837 China, Shanghai, ChinaUnicom
8 219.158.7.125 204.81 ms AS4837 China, Shanghai, ChinaUnicom
9 *
10 *
11 *
12 *
13 113.96.4.54 199.72 ms AS4134 China, Guangdong, Guangzhou, ChinaTelecom
14 113.108.209.1 198.82 ms AS4134 China, Guangdong, Guangzhou, ChinaTelecom
Traceroute to China, Shanghai CT (TCP Mode, Max 30 Hop)
============================================================
traceroute to 180.153.28.5 (180.153.28.5), 30 hops max, 32 byte packets
1 45.156.146.1 0.12 ms AS50131,AS201106 United States, Washington, Seattle, superfiber.dk
2 172.83.154.224 2.05 ms AS201106 United States, Washington, Seattle, spartanhost.org
3 172.83.154.1 1.27 ms AS201106 United States, Washington, Seattle, spartanhost.org
4 *
5 23.225.225.65 23.34 ms AS40065 United States, California, Los Angeles, ceranetworks.com
6 219.158.97.181 172.89 ms AS4837 China, Shanghai, ChinaUnicom
7 219.158.113.142 186.07 ms AS4837 China, Shanghai, ChinaUnicom
8 *
9 *
10 202.97.17.189 153.83 ms AS4134 China, Shanghai, ChinaTelecom
11 *
12 61.152.25.25 161.20 ms AS4812 China, Shanghai, ChinaTelecom
13 *
14 *
15 *
16 *
17 *
18 *
19 *
20 *
21 *
22 *
23 *
24 *
25 *
26 *
27 *
28 *
29 *
30 *
Traceroute to China, Beijing CT (TCP Mode, Max 30 Hop)
============================================================
traceroute to 180.149.128.9 (180.149.128.9), 30 hops max, 32 byte packets
1 45.156.146.1 0.13 ms AS50131,AS201106 United States, Washington, Seattle, superfiber.dk
2 172.83.154.224 6.14 ms AS201106 United States, Washington, Seattle, spartanhost.org
3 172.83.154.5 0.31 ms AS201106 United States, Washington, Seattle, spartanhost.org
4 *
5 23.225.225.65 23.11 ms AS40065 United States, California, Los Angeles, ceranetworks.com
6 219.158.116.237 182.91 ms AS4837 China, Shanghai, ChinaUnicom
7 219.158.19.90 190.60 ms AS4837 China, Shanghai, ChinaUnicom
8 219.158.19.81 183.09 ms AS4837 China, Shanghai, ChinaUnicom
9 219.158.6.169 199.65 ms AS4837 China, Beijing, ChinaUnicom
10 *
11 *
12 *
13 *
14 *
15 *
16 *
17 *
18 *
19 *
20 *
21 *
22 *
23 *
24 *
25 *
26 *
27 *
28 *
29 *
30 *
Traceroute to China, Guangzhou CU (TCP Mode, Max 30 Hop)
============================================================
traceroute to 210.21.4.130 (210.21.4.130), 30 hops max, 32 byte packets
1 45.156.146.1 0.10 ms AS50131,AS201106 United States, Washington, Seattle, superfiber.dk
2 172.83.154.224 22.10 ms AS201106 United States, Washington, Seattle, spartanhost.org
3 172.83.155.6 0.31 ms AS201106 United States, Washington, Seattle, spartanhost.org
4 *
5 23.225.225.65 28.40 ms AS40065 United States, California, Los Angeles, ceranetworks.com
6 219.158.97.181 177.99 ms AS4837 China, Shanghai, ChinaUnicom
7 219.158.8.185 257.27 ms AS4837 China, Shanghai, ChinaUnicom
8 219.158.7.133 183.06 ms AS4837 China, Shanghai, ChinaUnicom
9 *
10 120.83.0.166 177.00 ms AS17816 China, Guangdong, Guangzhou, ChinaUnicom
11 120.80.170.250 189.19 ms AS17622 China, Guangdong, Guangzhou, ChinaUnicom
12 *
13 *
14 *
15 *
16 *
17 *
18 *
19 *
20 *
21 *
22 *
23 *
24 *
25 *
26 *
27 *
28 *
29 *
30 *
Traceroute to China, Shanghai CU (TCP Mode, Max 30 Hop)
============================================================
traceroute to 58.247.8.158 (58.247.8.158), 30 hops max, 32 byte packets
1 45.156.146.1 0.15 ms AS50131,AS201106 United States, Washington, Seattle, superfiber.dk
2 172.83.154.224 1.95 ms AS201106 United States, Washington, Seattle, spartanhost.org
3 172.83.155.4 5.55 ms AS201106 United States, Washington, Seattle, spartanhost.org
4 *
5 23.225.225.65 23.47 ms AS40065 United States, California, Los Angeles, ceranetworks.com
6 219.158.102.133 183.66 ms AS4837 China, Shanghai, ChinaUnicom
7 219.158.19.78 184.46 ms AS4837 China, Shanghai, ChinaUnicom
8 *
9 *
10 139.226.228.46 187.41 ms AS17621 China, Shanghai, ChinaUnicom
11 139.226.225.22 182.03 ms AS17621 China, Shanghai, ChinaUnicom
12 58.247.8.153 231.18 ms AS17621 China, Shanghai, ChinaUnicom
13 *
14 *
15 *
16 *
17 *
18 *
19 *
20 *
21 *
22 *
23 *
24 *
25 *
26 *
27 *
28 *
29 *
30 *
Traceroute to China, Beijing CU (TCP Mode, Max 30 Hop)
============================================================
traceroute to 123.125.99.1 (123.125.99.1), 30 hops max, 32 byte packets
1 45.156.146.1 0.10 ms AS50131,AS201106 United States, Washington, Seattle, superfiber.dk
2 172.83.154.224 9.74 ms AS201106 United States, Washington, Seattle, spartanhost.org
3 172.83.155.6 0.18 ms AS201106 United States, Washington, Seattle, spartanhost.org
4 *
5 23.225.225.65 26.24 ms AS40065 United States, California, Los Angeles, ceranetworks.com
6 219.158.97.177 277.03 ms AS4837 China, Shanghai, ChinaUnicom
7 219.158.6.157 188.77 ms AS4837 China, Shanghai, ChinaUnicom
8 219.158.7.129 199.40 ms AS4837 China, Shanghai, ChinaUnicom
9 *
10 *
11 219.232.11.206 211.98 ms AS4808 China, Beijing, ChinaUnicom
12 *
13 *
14 *
15 *
16 *
17 *
18 *
19 *
20 *
21 *
22 *
23 *
24 *
25 *
26 *
27 *
28 *
29 *
30 *
Traceroute to China, Guangzhou CM (TCP Mode, Max 30 Hop)
============================================================
traceroute to 120.196.212.25 (120.196.212.25), 30 hops max, 32 byte packets
1 45.156.146.1 0.09 ms AS50131,AS201106 United States, Washington, Seattle, superfiber.dk
2 172.83.154.224 2.93 ms AS201106 United States, Washington, Seattle, spartanhost.org
3 172.83.155.4 0.25 ms AS201106 United States, Washington, Seattle, spartanhost.org
4 *
5 23.225.225.65 27.76 ms AS40065 United States, California, Los Angeles, ceranetworks.com
6 219.158.116.233 277.86 ms AS4837 China, Shanghai, ChinaUnicom
7 219.158.113.122 206.20 ms AS4837 China, Shanghai, ChinaUnicom
8 *
9 *
10 219.158.101.18 204.10 ms AS4837 China, Guangdong, Guangzhou, ChinaUnicom
11 219.158.46.146 201.68 ms AS4837 China, Guangdong, Guangzhou, ChinaUnicom
12 221.183.94.173 228.19 ms AS9808 China, Guangdong, Guangzhou, ChinaMobile
13 *
14 211.136.204.97 213.98 ms AS56040 China, Guangdong, Guangzhou, ChinaMobile
15 211.139.180.110 212.19 ms AS56040 China, Guangdong, Guangzhou, ChinaMobile
16 211.136.196.210 208.02 ms AS56040 China, Guangdong, Guangzhou, ChinaMobile
17 120.196.212.25 214.31 ms AS56040 China, Guangdong, Guangzhou, ChinaMobile
Traceroute to China, Shanghai CM (TCP Mode, Max 30 Hop)
============================================================
traceroute to 221.183.55.22 (221.183.55.22), 30 hops max, 32 byte packets
1 45.156.146.1 0.16 ms AS50131,AS201106 United States, Washington, Seattle, superfiber.dk
2 172.83.154.224 8.47 ms AS201106 United States, Washington, Seattle, spartanhost.org
3 172.83.154.5 0.29 ms AS201106 United States, Washington, Seattle, spartanhost.org
4 *
5 23.225.225.65 22.22 ms AS40065 United States, California, Los Angeles, ceranetworks.com
6 219.158.98.173 208.47 ms AS4837 China, Shanghai, ChinaUnicom
7 219.158.113.142 209.65 ms AS4837 China, Shanghai, ChinaUnicom
8 *
9 *
10 221.183.95.213 214.31 ms AS9808 China, Shanghai, ChinaMobile
11 *
12 *
13 *
14 *
15 *
16 *
17 *
18 *
19 *
20 *
21 *
22 *
23 *
24 *
25 *
26 *
27 *
28 *
29 *
30 *
Traceroute to China, Beijing CM (TCP Mode, Max 30 Hop)
============================================================
traceroute to 211.136.25.153 (211.136.25.153), 30 hops max, 32 byte packets
1 45.156.146.1 0.16 ms AS50131,AS201106 United States, Washington, Seattle, superfiber.dk
2 172.83.154.224 8.13 ms AS201106 United States, Washington, Seattle, spartanhost.org
3 172.83.154.5 0.31 ms AS201106 United States, Washington, Seattle, spartanhost.org
4 *
5 23.225.225.65 22.40 ms AS40065 United States, California, Los Angeles, ceranetworks.com
6 *
7 *
8 219.158.8.201 188.45 ms AS4837 China, Shanghai, ChinaUnicom
9 *
10 219.158.3.66 207.44 ms AS4837 China, Beijing, ChinaUnicom
11 221.183.123.13 189.19 ms AS9808 China, Beijing, ChinaMobile
12 221.183.94.41 202.20 ms AS9808 China, Beijing, ChinaMobile
13 221.183.76.82 191.26 ms AS9808 China, Beijing, ChinaMobile
14 211.136.66.229 191.64 ms AS56048 China, Beijing, ChinaMobile
15 211.136.63.66 193.31 ms AS56048 China, Beijing, ChinaMobile
16 211.136.63.66 192.11 ms AS56048 China, Beijing, ChinaMobile
17 211.136.95.226 189.97 ms AS56048 China, Beijing, ChinaMobile
18 *
19 211.136.25.153 192.58 ms AS56048 China, Beijing, ChinaMobile
Traceroute to China, Beijing Dr.Peng Network IDC Network (TCP Mode, Max 30 Hop)
============================================================
traceroute to 211.167.230.100 (211.167.230.100), 30 hops max, 32 byte packets
1 45.156.146.1 0.11 ms AS50131,AS201106 United States, Washington, Seattle, superfiber.dk
2 172.83.154.224 5.60 ms AS201106 United States, Washington, Seattle, spartanhost.org
3 172.83.154.5 0.31 ms AS201106 United States, Washington, Seattle, spartanhost.org
4 *
5 23.225.225.65 24.77 ms AS40065 United States, California, Los Angeles, ceranetworks.com
6 219.158.97.177 281.43 ms AS4837 China, Shanghai, ChinaUnicom
7 219.158.6.205 287.20 ms AS4837 China, Shanghai, ChinaUnicom
8 *
9 219.158.8.241 209.32 ms AS4837 China, Beijing, ChinaUnicom
10 *
11 202.106.193.42 201.37 ms AS4808 China, Beijing, ChinaUnicom
12 61.149.212.242 212.35 ms AS4808 China, Beijing, ChinaUnicom
13 202.99.1.238 275.46 ms AS4808 China, Beijing, ChinaUnicom
14 218.241.252.14 202.47 ms AS4808 China, Beijing, DRPENG
15 218.241.253.130 299.44 ms AS4808 China, Beijing, DRPENG
16 211.167.230.100 211.76 ms AS17964 China, Beijing, DRPENG
----------------------------------------------------------------------------------艾云2022年双十一活动专区VPS UnixBench跑分测试

