艾云iaclouds于今天又发布了一款2022年双11活动VPS套餐,详见艾云双十一第二弹!英国伦敦Plus机房VPS,解锁Tiktok,148/年@1核1G内存,免费20Gbps DDoS防御,那这款艾云VPS怎么样?站长入手了一台进行了简单测评,看看其国内延迟、丢包率、性能和带宽、路由去回程、流媒体和TikTok检测情况。总结艾云双11活动英国伦敦VPS测评结果,其IP为英国原生IP,支持解锁TikTok/迪士尼流媒体,磁盘IO读写速度高达1GB/s!
艾云Aiyun Network官网:门户首页 - 艾云 (iaclouds.com)
艾云QQ群:994298224,艾云TG群:https://t.me/+rs7onLzH66M3OWU1
艾云双11优惠专区VPS购买地址:https://iaclouds.com/cart.php?gid=28
艾云2022年双十一活动专区Standard-1111-Special-Plus-London控制台界面:
机器IP为:185.103.4.125,价格是148元/年(首购可以使用优惠码1111-Plus-London,立减10元!也就是148元)。
艾云双11活动英国伦敦VPS配置信息测试,为1核1G内存,Intel平台,站长这里未作BBR加速;支持解锁美区TikTok流媒体;磁盘IO读写速度方面,依旧延续艾云VPS风格,高达1GB/s!

bgp.he.net检测为英国原生IP:

三网Ping测试看下网络延迟情况:

丢包率测试,广州节点到了7%,其他都很不错,当然丢包率数据也不是一直不变的,受网络情况影响

看看艾云双11活动英国伦敦VPS FIO测试硬盘读写:

iperf3针对欧美的节点的数据测试:

speedtest.net国内外节点测速:
官方描述,无限制流量* / 500Mbps峰值速率,看结果没毛病,还是蛮给力的!

艾云双11活动英国伦敦VPS去程路由追踪测试
电信去程:

联通去程:

移动去程:

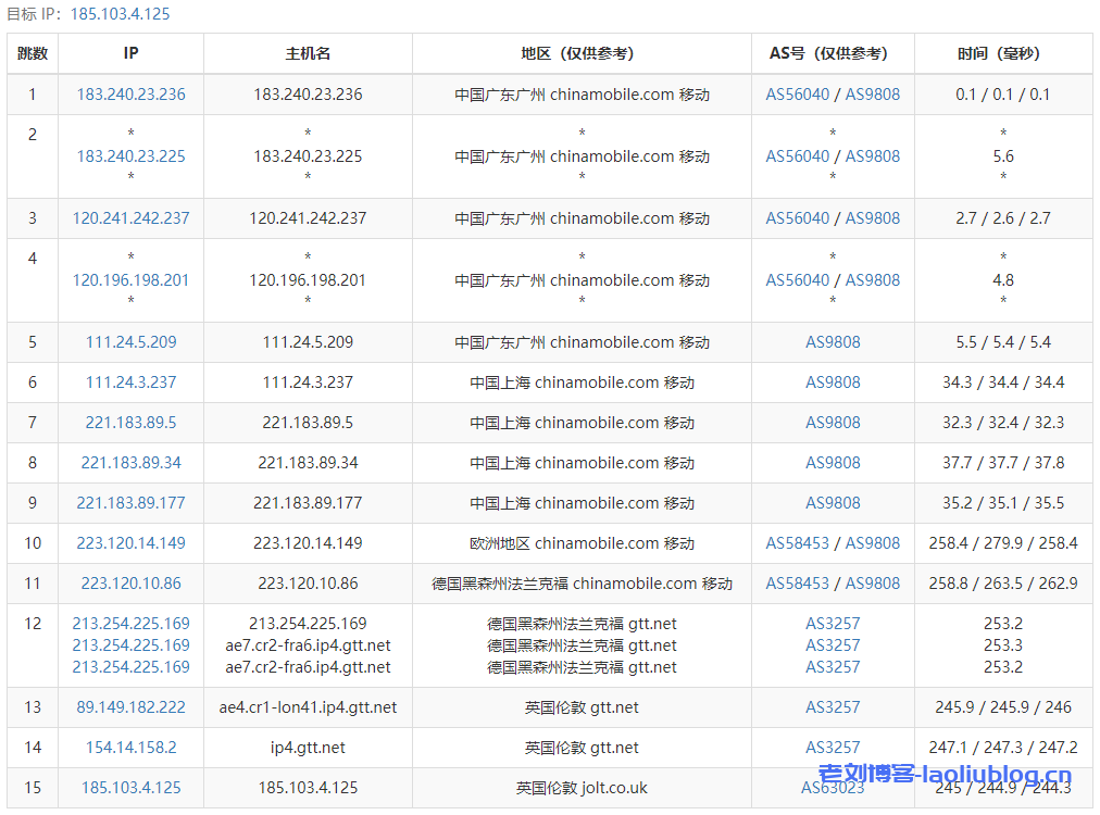
艾云双11活动英国伦敦VPS回程路由追踪测试
Traceroute to China, Guangzhou CT (TCP Mode, Max 30 Hop)
============================================================
traceroute to 113.108.209.1 (113.108.209.1), 30 hops max, 32 byte packets
1 45.61.164.1 0.27 ms AS63023 United Kingdom, London, buyvm.net
2 154.14.25.97 0.90 ms AS3257 United Kingdom, London, gtt.net
3 89.149.128.98 4.45 ms AS3257 United Kingdom, London, gtt.net
4 154.14.42.210 2.11 ms AS3257 United Kingdom, London, gtt.net
5 *
6 202.97.94.89 257.01 ms AS4134 China, Guangdong, Guangzhou, ChinaTelecom
7 *
8 113.96.5.82 253.64 ms AS4134 China, Guangdong, Guangzhou, ChinaTelecom
9 113.108.209.1 250.37 ms AS4134 China, Guangdong, Guangzhou, ChinaTelecom
Traceroute to China, Shanghai CT (TCP Mode, Max 30 Hop)
============================================================
traceroute to 180.153.28.5 (180.153.28.5), 30 hops max, 32 byte packets
1 45.61.164.1 0.30 ms AS63023 United Kingdom, London, buyvm.net
2 154.14.158.1 3.09 ms AS3257 United Kingdom, London, gtt.net
3 89.149.128.98 21.68 ms AS3257 United Kingdom, London, gtt.net
4 154.14.42.210 2.94 ms AS3257 United Kingdom, London, gtt.net
5 *
6 *
7 *
8 61.152.26.73 228.49 ms AS4812 China, Shanghai, ChinaTelecom
9 *
10 124.74.232.54 231.77 ms AS4811 China, Shanghai, ChinaTelecom
11 *
12 *
13 *
14 *
15 *
16 *
17 *
18 *
19 *
20 *
21 *
22 *
23 *
24 *
25 *
26 *
27 *
28 *
29 *
30 *
Traceroute to China, Beijing CT (TCP Mode, Max 30 Hop)
============================================================
traceroute to 180.149.128.9 (180.149.128.9), 30 hops max, 32 byte packets
1 45.61.164.1 0.27 ms AS63023 United Kingdom, London, buyvm.net
2 154.14.25.97 0.23 ms AS3257 United Kingdom, London, gtt.net
3 89.149.128.98 21.88 ms AS3257 United Kingdom, London, gtt.net
4 154.14.42.210 2.62 ms AS3257 United Kingdom, London, gtt.net
5 *
6 202.97.12.57 214.70 ms AS4134 China, Beijing, ChinaTelecom
7 *
8 *
9 *
10 *
11 *
12 *
13 *
14 *
15 *
16 *
17 *
18 *
19 *
20 *
21 *
22 *
23 *
24 *
25 *
26 *
27 *
28 *
29 *
30 *
Traceroute to China, Guangzhou CU (TCP Mode, Max 30 Hop)
============================================================
traceroute to 210.21.4.130 (210.21.4.130), 30 hops max, 32 byte packets
1 45.61.164.1 0.49 ms AS63023 United Kingdom, London, buyvm.net
2 154.14.25.97 0.30 ms AS3257 United Kingdom, London, gtt.net
3 213.200.117.138 11.54 ms AS3257 Germany, Hesse, Frankfurt, gtt.net
4 *
5 219.158.20.161 228.57 ms AS4837 China, Guangdong, Guangzhou, ChinaUnicom
6 219.158.4.37 228.39 ms AS4837 China, Guangdong, ChinaUnicom
7 219.158.3.17 244.27 ms AS4837 China, Guangdong, ChinaUnicom
8 112.91.0.246 250.52 ms AS17816 China, Guangdong, Guangzhou, ChinaUnicom
9 120.80.175.70 252.09 ms AS17622 China, Guangdong, Guangzhou, ChinaUnicom
10 *
11 *
12 *
13 *
14 *
15 *
16 *
17 *
18 *
19 *
20 *
21 *
22 *
23 *
24 *
25 *
26 *
27 *
28 *
29 *
30 *
Traceroute to China, Shanghai CU (TCP Mode, Max 30 Hop)
============================================================
traceroute to 58.247.8.158 (58.247.8.158), 30 hops max, 32 byte packets
1 45.61.164.1 0.20 ms AS63023 United Kingdom, London, buyvm.net
2 154.14.158.1 0.31 ms AS3257 United Kingdom, London, gtt.net
3 213.200.117.138 22.53 ms AS3257 Germany, Hesse, Frankfurt, gtt.net
4 *
5 219.158.14.153 262.04 ms AS4837 China, Guangdong, Guangzhou, ChinaUnicom
6 219.158.24.133 257.40 ms AS4837 China, Guangdong, Guangzhou, ChinaUnicom
7 219.158.8.121 241.75 ms AS4837 China, Guangdong, Guangzhou, ChinaUnicom
8 *
9 *
10 58.247.221.178 469.28 ms AS17621 China, Shanghai, ChinaUnicom
11 139.226.225.22 221.66 ms AS17621 China, Shanghai, ChinaUnicom
12 58.247.8.153 237.56 ms AS17621 China, Shanghai, ChinaUnicom
13 *
14 *
15 *
16 *
17 *
18 *
19 *
20 *
21 *
22 *
23 *
24 *
25 *
26 *
27 *
28 *
29 *
30 *
Traceroute to China, Beijing CU (TCP Mode, Max 30 Hop)
============================================================
traceroute to 123.125.99.1 (123.125.99.1), 30 hops max, 32 byte packets
1 45.61.164.1 0.49 ms AS63023 United Kingdom, London, buyvm.net
2 154.14.25.97 0.28 ms AS3257 United Kingdom, London, gtt.net
3 213.200.117.138 11.40 ms AS3257 Germany, Hesse, Frankfurt, gtt.net
4 *
5 219.158.3.237 277.05 ms AS4837 China, Guangdong, Guangzhou, ChinaUnicom
6 219.158.4.109 232.76 ms AS4837 China, Guangdong, Guangzhou, ChinaUnicom
7 219.158.3.9 225.49 ms AS4837 China, Guangdong, ChinaUnicom
8 *
9 *
10 61.148.158.90 267.43 ms AS4808 China, Beijing, ChinaUnicom
11 *
12 *
13 *
14 *
15 *
16 *
17 *
18 *
19 *
20 *
21 *
22 *
23 *
24 *
25 *
26 *
27 *
28 *
29 *
30 *
Traceroute to China, Guangzhou CM (TCP Mode, Max 30 Hop)
============================================================
traceroute to 120.196.212.25 (120.196.212.25), 30 hops max, 32 byte packets
1 45.61.164.1 0.22 ms AS63023 United Kingdom, London, buyvm.net
2 154.14.158.1 1.80 ms AS3257 United Kingdom, London, gtt.net
3 141.136.106.109 8.72 ms AS3257 United Kingdom, London, gtt.net
4 *
5 154.54.57.161 1.23 ms AS174 United Kingdom, London, cogentco.com
6 154.54.42.85 70.11 ms AS174 United States, New York, New York City, cogentco.com
7 154.54.40.110 75.73 ms AS174 United States, Virginia, Arlington, cogentco.com
8 154.54.24.222 90.95 ms AS174 United States, Georgia, Atlanta, cogentco.com
9 154.54.28.130 107.20 ms AS174 United States, Texas, Houston, cogentco.com
10 154.54.29.222 125.77 ms AS174 COGENTCO.COM 骨干网, cogentco.com
11 154.54.42.65 127.88 ms AS174 United States, Arizona, Phoenix, cogentco.com
12 154.54.45.162 131.90 ms AS174 United States, California, Los Angeles, cogentco.com
13 154.54.3.70 132.12 ms AS174 United States, California, Los Angeles, cogentco.com
14 38.19.140.98 131.86 ms AS174 United States, California, Los Angeles, cogentco.com
15 223.118.10.153 133.17 ms AS58453 United States, California, Los Angeles, ChinaMobile
16 *
17 221.183.25.122 276.66 ms AS9808 China, Guangdong, Guangzhou, ChinaMobile
18 221.176.22.105 280.48 ms AS9808 China, Guangdong, Guangzhou, ChinaMobile
19 111.24.4.233 275.33 ms AS9808 China, Guangdong, Guangzhou, ChinaMobile
20 111.24.5.34 293.44 ms AS9808 China, Guangdong, Shenzhen, ChinaMobile
21 211.136.208.193 280.81 ms AS56040 China, Guangdong, Shenzhen, ChinaMobile
22 211.139.180.106 278.95 ms AS56040 China, Guangdong, Guangzhou, ChinaMobile
23 211.139.180.106 286.59 ms AS56040 China, Guangdong, Guangzhou, ChinaMobile
24 *
25 120.196.212.25 282.04 ms AS56040 China, Guangdong, Guangzhou, ChinaMobile
Traceroute to China, Shanghai CM (TCP Mode, Max 30 Hop)
============================================================
traceroute to 221.183.55.22 (221.183.55.22), 30 hops max, 32 byte packets
1 45.61.164.1 0.84 ms AS63023 United Kingdom, London, buyvm.net
2 154.14.158.1 5.12 ms AS3257 United Kingdom, London, gtt.net
3 213.200.117.138 11.57 ms AS3257 Germany, Hesse, Frankfurt, gtt.net
4 213.254.225.170 14.58 ms AS3257 Germany, Hesse, Frankfurt, gtt.net
5 223.120.10.85 12.71 ms AS58453 Germany, Hesse, Frankfurt, ChinaMobile
6 *
7 *
8 *
9 *
10 *
11 *
12 *
13 *
14 *
15 *
16 *
17 *
18 *
19 *
20 *
21 *
22 *
23 *
24 *
25 *
26 *
27 *
28 *
29 *
30 *
Traceroute to China, Beijing CM (TCP Mode, Max 30 Hop)
============================================================
traceroute to 211.136.25.153 (211.136.25.153), 30 hops max, 32 byte packets
1 45.61.164.1 0.23 ms AS63023 United Kingdom, London, buyvm.net
2 154.14.25.97 2.86 ms AS3257 United Kingdom, London, gtt.net
3 89.149.181.102 125.87 ms AS3257 United States, California, Los Angeles, gtt.net
4 173.205.45.154 125.05 ms AS3257 United States, California, Los Angeles, gtt.net
5 223.118.10.249 140.13 ms AS58453 United States, California, Los Angeles, ChinaMobile
6 223.120.6.37 125.20 ms AS58453 United States, California, Los Angeles, ChinaMobile
7 *
8 221.183.46.250 233.35 ms AS9808 China, Beijing, ChinaMobile
9 221.183.25.201 228.91 ms AS9808 China, Beijing, ChinaMobile
10 111.24.2.134 230.34 ms AS9808 China, Beijing, ChinaMobile
11 111.24.2.134 243.83 ms AS9808 China, Beijing, ChinaMobile
12 211.136.67.166 229.63 ms AS56048 China, Beijing, ChinaMobile
13 *
14 *
15 *
16 *
17 211.136.25.153 224.95 ms AS56048 China, Beijing, ChinaMobile
Traceroute to China, Beijing Dr.Peng Network IDC Network (TCP Mode, Max 30 Hop)
============================================================
traceroute to 211.167.230.100 (211.167.230.100), 30 hops max, 32 byte packets
1 45.61.164.1 0.32 ms AS63023 United Kingdom, London, buyvm.net
2 154.14.25.97 0.33 ms AS3257 United Kingdom, London, gtt.net
3 213.200.117.138 11.44 ms AS3257 Germany, Hesse, Frankfurt, gtt.net
4 *
5 219.158.14.145 253.67 ms AS4837 China, Guangdong, Guangzhou, ChinaUnicom
6 219.158.97.30 247.32 ms AS4837 China, Guangdong, Guangzhou, ChinaUnicom
7 *
8 *
9 202.96.12.78 269.01 ms AS4808 China, Beijing, ChinaUnicom
10 202.96.13.254 260.08 ms AS4808 China, Beijing, ChinaUnicom
11 61.149.212.242 240.60 ms AS4808 China, Beijing, ChinaUnicom
12 202.99.1.134 262.97 ms AS4808 China, Beijing, ChinaUnicom
13 218.241.255.86 247.88 ms AS4808 China, Beijing, DRPENG
14 218.241.253.130 294.38 ms AS4808 China, Beijing, DRPENG
15 211.167.230.100 281.13 ms AS17964 China, Beijing, DRPENG
----------------------------------------------------------------------------------
其他流媒体解锁情况:

UnixBench跑分看下机器综合性能:
最后,用UnixBench脚本跑了VPS分数,分值807.7。得分小于400的性能比较差、500-1000正常、大于1000优秀、大于2000极好。当然跑分不是认定机器好坏的唯一标准,需要综合考虑。这里跑分值属于正常级别。一年148元买到这款VPS可以说是蛮值的了!

