Evoxt有印度尼西亚VPS套餐出售,$2.99/月起,特色AMD高性能处理器+NVMe硬盘,1Gbps大带宽,1IPv4+1IPv6双栈,支持每周备份,支持Windows server 2012/2016/2022。目前该商家还有优化线路套餐:中国香港、日本(大阪)和马来西亚;普通线路有美国、英国、加拿大、德国、波兰、阿姆斯特丹、日本(东京)、马来西亚和澳大利亚。这篇笔记就来测评分享该商家的印度尼西亚VPS的测评数据……

1、官网
官方网站:https://evoxt.com/
2、印度尼西亚 VPS套餐
AMD高性能处理器+NVMe硬盘,1Gbps大带宽,1IPv4+1IPv6双栈,支持每周备份,支持Windows server 2012/2016/2022
Tips:标注红色文字套餐为测评的机器。

3、基本参数
Basic System Information:
Uptime : 0 days, 0 hours, 10 minutes
Processor : AMD EPYC-Genoa Processor
CPU cores : 1 @ 4192.108 MHz
AES-NI : ✔ Enabled
VM-x/AMD-V : ✔ Enabled
RAM : 457.8 MiB
Swap : 1.0 GiB
Disk : 5.0 GiB
Distro : Debian GNU/Linux 12 (bookworm)
Kernel : 6.1.0-9-amd64
VM Type : STANDARD PC (I440FX + PIIX, 1996)
IPv4/IPv6 : ✔ Online / ✔ Online
IPv6 Network Information:
ISP : Evoxt Enterprise
ASN : AS149440 Evoxt Enterprise
Location : Jakarta, Jakarta (JK)
Country : Indonesia
4、IP测试
流媒体:

IP质量测试(ipv6):

IP质量测试(ipv6):

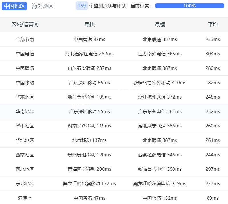
5、网络测试
三网测试:
测速节点 下载/Mbps 上传/Mbps 延迟/ms 抖动/ms
最近的测速点 841.83 Mbps 796.31 Mbps 0.48 ms 0.13 ms
电信 江苏苏州 467.75 Mbps 40.59 Mbps 295.04 ms 0.26 ms
电信 浙江杭州 394.39 Mbps 23.75 Mbps 303.58 ms 0.89 ms
电信 浙江宁波 5G 363.62 Mbps 14.27 Mbps 294.19 ms 2.17 ms
电信 江苏镇江 5G 512.15 Mbps 19.19 Mbps 294.08 ms 2.98 ms
测速次数过多,暂时被限制,请过一段时间后再进行测试
系统时间:2026-01-18 00:12:13 EST
北京时间: 2026-01-18 13:12:13 CST
Speedtest:

网络质量检测(ipv4):

网络质量检测(ipv6):

ping检测:


6、路由
三网回程(ipv4):
五、三网回程路由(线路可能随网络负载动态变化)
北京 电信 Softbank -> 163
地理路径:马来西亚 -> 上海 -> 北京 自治系统路径:AS149440 -> AS17676 -> AS4134 -> AS4847
1 0.18ms 142.111.. AS149440 马来西亚 吉隆坡联邦直辖区 吉隆坡 evoxt.com
14 278.32ms 221.111.. AS17676 [BBTEC] 中国 上海 softbank.jp
15-16 285.22ms 202.97.. AS4134 [CHINANET-BB] 中国 上海 chinatelecom.com.cn 电信
17 298.73ms 202.97.. AS4134 [CHINANET-BB] 中国 北京 chinatelecom.com.cn 电信
19 309.09ms 36.112.. AS4847 中国 北京 bj.189.cn
20-21 376.70ms 219.141.. AS4847 [CHINATELECOM-BJ] 中国 北京 bj.189.cn
22 299.69ms 106.37.. AS4847 [CHINANET-HN] 中国 北京 bj.189.cn
北京 联通 AS149440 -> 4837
地理路径:马来西亚 -> 北京 自治系统路径:AS149440 -> AS4837 -> AS4808
1 0.17ms 142.111.. AS149440 马来西亚 吉隆坡联邦直辖区 吉隆坡 evoxt.com
15 233.66ms 219.158.. AS4837 [CU169-BACKBONE] 中国 北京 chinaunicom.cn
18 237.61ms 61.51.. AS4808 中国 北京市 延庆 www.bbn.com.cn 联通
22 271.12ms 221.222.. AS4808 [UNICOM-BJ] 中国 北京 海淀 www.bbn.com.cn
北京 移动 Softbank -> CMI
地理路径:马来西亚 -> 日本 -> 北京 自治系统路径:AS149440 -> AS17676 -> AS58453 -> AS9808 -> AS56048
1 0.20ms 142.111.. AS149440 马来西亚 吉隆坡联邦直辖区 吉隆坡 evoxt.com
14 84.57ms 221.111.. AS17676 [BBTEC] 日本 东京都 东京 softbank.jp
15 276.94ms 223.120.. AS58453 [CMI-INT] 中国 北京 cmi.chinamobile.com 移动
16-17 136.79ms 221.183.. AS9808 [CMNET] 中国 北京 X-I chinamobileltd.com 移动
20-22 139.37ms 211.136.. AS56048 [CMNET] 中国 北京 bj.10086.cn 移动
25 139.41ms 211.136.. AS56048 [CMNET] 中国 北京 bj.10086.cn 移动
上海 电信 Level3 -> 163
地理路径:马来西亚 -> 印度尼西亚 -> 新加坡 -> 英国 -> 上海 自治系统路径:AS149440 -> AS24198 -> AS3356 -> AS4134 -> AS4812
1 0.17ms 142.111.. AS149440 马来西亚 吉隆坡联邦直辖区 吉隆坡 evoxt.com
2 0.37ms 10.87.. * RFC1918
3 0.52ms 103.155.. AS24198 印度尼西亚 雅加达 datakom.id
4 12.43ms 103.155.. AS24198 印度尼西亚 廖内群岛 巴淡岛 datakom.id
5 12.35ms 8.245.. AS3356 新加坡 lumen.com
7 258.59ms 212.133.. AS3356 英国 lumen.com
8-10 364.33ms 202.97.. AS4134 [CHINANET-BB] 中国 上海 chinatelecom.com.cn 电信
11 368.26ms 101.95.. AS4812 [CHINANET-SH] 中国 上海 chinatelecom.cn 电信
17 366.51ms 101.226.. AS4812 [CHINANET-SH] 中国 上海市 chinatelecom.cn 电信
上海 联通 Softbank -> 4837
地理路径:马来西亚 -> 北京 -> 上海 自治系统路径:AS149440 -> AS17676 -> AS4837 -> AS140979
1 0.19ms 142.111.. AS149440 马来西亚 吉隆坡联邦直辖区 吉隆坡 evoxt.com
14 234.09ms 221.111.. AS17676 [BBTEC] 中国 北京 BBTEC-CU-Peer softbank.jp
15-16 268.50ms 219.158.. AS4837 [CU169-BACKBONE] 中国 北京 chinaunicom.cn 联通
24 257.10ms 58.246.. AS140979 中国 上海市 chinaunicom.cn 联通
上海 移动 Softbank -> CMI
地理路径:马来西亚 -> 日本 -> 上海 自治系统路径:AS149440 -> AS17676 -> AS58453 -> AS9808
1 0.33ms 142.111.. AS149440 马来西亚 吉隆坡联邦直辖区 吉隆坡 evoxt.com
14 85.08ms 221.111.. AS17676 [BBTEC] 日本 东京都 东京 softbank.jp
15 124.74ms 223.120.. AS58453 [CMI-INT] 日本 东京都 东京 cmi.chinamobile.com 移动
16-18 116.36ms 221.183.. AS9808 [CMNET] 中国 上海 X-I chinamobileltd.com 移动
23 121.34ms 117.185.. AS9808 [CMNET] 中国 上海市 chinamobileltd.com 移动
广东 电信 Softbank -> 163
地理路径:马来西亚 -> 上海 -> 广东 自治系统路径:AS149440 -> AS17676 -> AS4134
1 2.71ms 142.111.. AS149440 马来西亚 吉隆坡联邦直辖区 吉隆坡 evoxt.com
14 275.26ms 221.111.. AS17676 [BBTEC] 中国 上海 softbank.jp
16 287.47ms 202.97.. AS4134 [CHINANET-BB] 中国 上海 chinatelecom.com.cn 电信
17 298.59ms 202.97.. AS4134 [CHINANET-BB] 中国 广东 广州 chinatelecom.com.cn 电信
24 317.88ms 183.47.. AS4134 [APNIC-AP] 中国 广东省 广州市 chinatelecom.com.cn 电信
广东 联通 Softbank -> 4837
地理路径:马来西亚 -> 北京 -> 广东 自治系统路径:AS149440 -> AS17676 -> AS4837 -> AS17816 -> AS136958
1 0.41ms 142.111.. AS149440 马来西亚 吉隆坡联邦直辖区 吉隆坡 evoxt.com
14 233.81ms 221.111.. AS17676 [BBTEC] 中国 北京 BBTEC-CU-Peer softbank.jp
15 255.13ms 219.158.. AS4837 [CU169-BACKBONE] 中国 北京 chinaunicom.cn 联通
17 320.56ms 219.158.. AS4837 [CU169-BACKBONE] 中国 广东 广州 chinaunicom.cn 联通
18 307.81ms 120.81.. AS17816 [APNIC-AP] 中国 广东 广州 China Unicom IP network China169 Guangdong province
24 299.95ms 157.148.. AS136958 [UNICOM-GD] 中国 广东省 广州市 chinaunicom.cn 联通
广东 移动 AS149440 -> CMI
地理路径:马来西亚 -> 广东 自治系统路径:AS149440 -> AS58453 -> AS9808 -> AS56040
1 0.24ms 142.111.. AS149440 马来西亚 吉隆坡联邦直辖区 吉隆坡 evoxt.com
16 250.23ms 223.120.. AS58453 [CMI-INT] 中国 广东 广州 cmi.chinamobile.com 移动
17-20 98.36ms 221.183.. AS9808 [CMNET] 中国 广东 广州 X-I chinamobileltd.com 移动
21-24 110.53ms 183.235.. AS56040 [APNIC-AP] 中国 广东 广州 gd.10086.cn 移动
27 156.75ms 211.139.. AS56040 [CMNET] 中国 广东 广州 gd.10086.cn 移动
电信去程:

联通去程:

移动去程:

三网回程(ipv6)
五、三网回程路由(线路可能随网络负载动态变化)
北京 电信 HE -> 163
地理路径:马来西亚 -> 印度尼西亚 -> 法国 -> 上海 -> 北京 自治系统路径:AS149440 -> AS47311 -> AS6939 -> AS4134 -> AS23724
1 0.19ms 2400:8d60:14:::::* AS149440 马来西亚 evoxt.com
2 0.38ms 2a06:9f44:f170:::::* AS47311 印度尼西亚 雅加达 byod.id
7-8 156.01ms 2001:470:0:::::* AS6939 法国 法兰西岛大区 巴黎 he.net
9 314.50ms 240e:0:a:::::* AS4134 中国 chinatelecom.com.cn 电信
10-11 324.42ms 240e:0:a:::::* AS4134 中国 上海 chinatelecom.com.cn 电信
12 339.62ms 240e::1:::::* AS4134 中国 北京 chinatelecom.com.cn 电信
13-15 339.06ms 240e:0:9000:::::* AS23724 中国 北京市 bjtelecom.net 电信
17 339.24ms 240e:904:800:::::* AS23724 中国 北京市 bjtelecom.net 电信
北京 联通 HE -> 4837
地理路径:马来西亚 -> 印度尼西亚 -> 德国 -> 广东 -> 北京 自治系统路径:AS149440 -> AS47311 -> AS6939 -> AS4837 -> AS4808
1 0.21ms 2400:8d60:14:::::* AS149440 马来西亚 evoxt.com
2 0.52ms 2a06:9f44:f170:::::* AS47311 印度尼西亚 雅加达 byod.id
7 212.86ms 2001:470:0:::::* AS6939 德国 黑森 美因河畔法兰克福 he.net
8-10 212.65ms 2408:8000:2:::::* AS4837 中国 广东 广州 chinaunicom.cn 联通
11 273.59ms 2408:8000:2:::::* AS4837 中国 北京 chinaunicom.cn 联通
12-13 274.92ms 2408:8000:1100:::::* AS4808 中国 北京 www.bbn.com.cn 联通
15 268.41ms 2408:8706:0:::::* AS4808 中国 北京市 www.bbn.com.cn 联通
北京 移动 AS47311 -> CMI
地理路径:马来西亚 -> 印度尼西亚 -> 法国 -> 德国 -> 香港 -> 上海 -> 北京 自治系统路径:AS149440 -> AS47311 -> AS58453 -> AS9808
1 0.28ms 2400:8d60:14:::::* AS149440 马来西亚 evoxt.com
2 0.64ms 2a06:9f44:f170:::::* AS47311 印度尼西亚 雅加达 byod.id
7 166.05ms 2001:7f8:54:::::* AS58453 法国 法兰西岛大区 巴黎 France-IX Paris - China Mobile International - 20Gbps cmi.chinamobile.com
8 164.31ms 2402:4f00:2000:::::* AS58453 德国 黑森 美因河畔法兰克福 cmi.chinamobile.com
9-10 172.54ms 2402:4f00:2000:::::* AS58453 中国 香港 cmi.chinamobile.com
11-14 200.52ms 2409:8080:0:::::* AS9808 中国 上海 chinamobileltd.com 移动
15-17 336.93ms 2409:8080:0:::::* AS9808 中国 北京 chinamobileltd.com 移动
18 338.63ms 2409:8c00:7821:::::* AS9808 中国 北京市 chinamobileltd.com 移动
上海 电信 HE -> 163
地理路径:马来西亚 -> 印度尼西亚 -> 法国 -> 上海 自治系统路径:AS149440 -> AS47311 -> AS6939 -> AS4134 -> AS4812
1 0.23ms 2400:8d60:14:::::* AS149440 马来西亚 evoxt.com
2 0.43ms 2a06:9f44:f170:::::* AS47311 印度尼西亚 雅加达 byod.id
7 156.84ms 2001:470:0:::::* AS6939 法国 法兰西岛大区 巴黎 he.net
9 314.55ms 240e:0:a:::::* AS4134 中国 chinatelecom.com.cn 电信
10-11 324.28ms 240e:2:a:::::* AS4134 中国 上海 chinatelecom.com.cn 电信
12-14 345.42ms 240e:18:10:::::* AS4812 中国 上海 chinatelecom.cn
16 323.62ms 240e:96c:6000:::::* AS4812 中国 上海市 chinatelecom.cn 电信
上海 联通 HE -> 4837
地理路径:马来西亚 -> 印度尼西亚 -> 德国 -> 广东 -> 江苏 自治系统路径:AS149440 -> AS47311 -> AS6939 -> AS4837
1 0.28ms 2400:8d60:14:::::* AS149440 马来西亚 evoxt.com
2 0.93ms 2a06:9f44:f170:::::* AS47311 印度尼西亚 雅加达 byod.id
7 213.01ms 2001:470:0:::::* AS6939 德国 黑森 美因河畔法兰克福 he.net
8-10 236.28ms 2408:8000:2:::::* AS4837 中国 广东 广州 chinaunicom.cn 联通
11-13 247.56ms 2408:8000:2:::::* AS4837 中国 江苏 南京 广东-江苏 chinaunicom.cn 联通
15 238.17ms 2408:873c:6810:::::* AS4837 中国 江苏省 泰州市 chinaunicom.cn 联通
上海 移动 AS47311 -> CMI
地理路径:马来西亚 -> 印度尼西亚 -> 德国 -> 香港 -> 上海 自治系统路径:AS149440 -> AS47311 -> AS58453 -> AS9808
1 0.23ms 2400:8d60:14:::::* AS149440 马来西亚 evoxt.com
2 0.79ms 2a06:9f44:f170:::::* AS47311 印度尼西亚 雅加达 byod.id
8-9 165.72ms 2402:4f00:2000:::::* AS58453 德国 黑森 美因河畔法兰克福 cmi.chinamobile.com
10 237.20ms 2402:4f00:2000:::::* AS58453 中国 香港 cmi.chinamobile.com 移动
11-15 237.89ms 2409:8080:0:::::* AS9808 中国 上海 chinamobileltd.com 移动
18 239.26ms 2409:8c1e:68e0:::::* AS9808 中国 上海市 chinamobileltd.com 移动
广东 电信 HE -> 163
地理路径:马来西亚 -> 印度尼西亚 -> 法国 -> 广东 自治系统路径:AS149440 -> AS47311 -> AS6939 -> AS4134 -> AS4816
1 0.34ms 2400:8d60:14:::::* AS149440 马来西亚 evoxt.com
2 0.54ms 2a06:9f44:f170:::::* AS47311 印度尼西亚 雅加达 byod.id
7-8 155.61ms 2001:470:0:::::* AS6939 法国 法兰西岛大区 巴黎 he.net
9 342.30ms 240e:0:a:::::* AS4134 中国 chinatelecom.com.cn 电信
10-11 338.05ms 240e:0:a:::::* AS4134 中国 广东 广州 chinatelecom.com.cn 电信
12-13 340.05ms 240e:1f:6000:::::* AS4816 中国 广东 深圳 电信
16 348.77ms 240e:97c:4008:::::* AS4816 中国 广东省 深圳市 电信
广东 联通 HE -> 4837
地理路径:马来西亚 -> 印度尼西亚 -> 德国 -> 广东 自治系统路径:AS149440 -> AS47311 -> AS6939 -> AS4837 -> AS135061 -> AS17623 -> AS135061
1 0.20ms 2400:8d60:14:::::* AS149440 马来西亚 evoxt.com
2 0.32ms 2a06:9f44:f170:::::* AS47311 印度尼西亚 雅加达 byod.id
7 213.25ms 2001:470:0:::::* AS6939 德国 黑森 美因河畔法兰克福 he.net
8-10 230.29ms 2408:8000:2:::::* AS4837 中国 广东 广州 chinaunicom.cn 联通
11 215.63ms 2408:8001:3171:::::* AS135061 中国 广东 深圳 chinaunicom.cn 联通
12 224.49ms 2408:8001:3071:::::* AS17623 中国 广东 深圳 chinaunicom.cn
14 247.84ms 2408:8756:2cef:::::* AS135061 中国 广东省 深圳市 chinaunicom.cn 联通
广东 移动 AS47311 -> CMI
地理路径:马来西亚 -> 印度尼西亚 -> 德国 -> 香港 -> 广东 自治系统路径:AS149440 -> AS47311 -> AS58453 -> AS9808 -> AS56040 -> AS9808
1 0.32ms 2400:8d60:14:::::* AS149440 马来西亚 evoxt.com
2 0.66ms 2a06:9f44:f170:::::* AS47311 印度尼西亚 雅加达 byod.id
8-9 164.95ms 2402:4f00:2000:::::* AS58453 德国 黑森 美因河畔法兰克福 cmi.chinamobile.com
10 187.16ms 2402:4f00:2000:::::* AS58453 中国 香港 cmi.chinamobile.com 移动
11-14 187.72ms 2409:8080:0:::::* AS9808 中国 广东 广州 chinamobileltd.com 移动
15-16 198.37ms 2409:8055:0:::::* AS56040 中国 广东 gd.10086.cn
18 199.30ms 2409:8c54:1000:::::* AS9808 中国 广东省 深圳市 chinamobileltd.com 移动
7、性能
综合:
------------------------CPU测试--通过sysbench测试-------------------------
-> CPU 测试中 (Fast Mode, 1-Pass @ 5sec)
1 线程测试(单核)得分: 5577 Scores
--------------------内存测试--感谢lemonbench开源----------------------------
-> 内存测试 Test (Fast Mode, 1-Pass @ 5sec)
单线程读测试: 65611.44 MB/s
单线程写测试: 34364.95 MB/s
--------------------磁盘dd读写测试--感谢lemonbench开源--------------------
-> 磁盘IO测试中 (4K Block/1M Block, Direct Mode)
测试操作 写速度 读速度
100MB-4K Block 51.0 MB/s (12.45 IOPS, 2.06s)) 45.2 MB/s (11027 IOPS, 2.32s)
1GB-1M Block 2.7 GB/s (2622 IOPS, 0.38s) 969 MB/s (923 IOPS, 1.08s)
----------------------磁盘fio读写测试--感谢yabs开源-----------------------
| Block Size | 4k (IOPS) | 64k (IOPS) |
|---|---|---|
| Read | 98.70 MB/s (24.6k) | 1.07 GB/s (16.7k) |
| Write | 98.96 MB/s (24.7k) | 1.07 GB/s (16.8k) |
| Total | 197.66 MB/s (49.4k) | 2.14 GB/s (33.5k) |
| ------ | --- ---- | ---- ---- |
| Read | 2.14 GB/s (4.1k) | 2.26 GB/s (2.2k) |
| Write | 2.26 GB/s (4.4k) | 2.41 GB/s (2.3k) |
| Total | 4.41 GB/s (8.6k) | 4.68 GB/s (4.5k) |
SysBench 测试:
SysBench CPU 测试 (Fast Mode, 1-Pass @ 5sec)
1 线程测试(单核)得分: 5584 Scores
SysBench 内存测试 (Fast Mode, 1-Pass @ 5sec)
单线程读测试: 63379.57 MB/s
单线程写测试: 34855.45 MB/s
Geekbench 5 Benchmark Test:
Geekbench 5 Benchmark Test:
Test | Value
| Single Core | 1586
Multi Core | 1643
Full Test | https://browser.geekbench.com/v5/cpu/24043700
8、最后
测试机器为网络IP,解锁能力一般。
三网回程情况:
北京/广州电信( Softbank -> 163;地理路径:马来西亚 -> 上海 -> 北京/广东 )
上海电信(Level3 -> 163 ;地理路径:马来西亚 -> 印度尼西亚 -> 新加坡 -> 英国 -> 上海 )
北京联通(AS149440 -> 4837;地理路径:马来西亚 -> 北京)
上海联通(Softbank -> 4837 ;地理路径:马来西亚 -> 日本 -> 上海 )
广东联通(Softbank -> 4837 ;马来西亚 -> 北京 -> 广东)
北京移动( Softbank -> CMI;地理路径:马来西亚 -> 北京 )
上海移动(Softbank -> CMI;地理路径:马来西亚 -> 日本 -> 上海 )
广东移动(AS149440 -> CMI ;地理路径:马来西亚 -> 广东)
三网回程路由(ipv4):
五、三网回程路由(线路可能随网络负载动态变化)
北京TCP:电信 Softbank->163 || 联通 Softbank->4837 || 移动 Softbank->CMI
北京UDP:电信 Softbank->163 || 联通 Softbank->4837 || 移动 Softbank->CMI
上海TCP:电信 Level3->163 || 联通 Softbank->4837 || 移动 Softbank->CMI
上海UDP:电信 Level3->163 || 联通 Softbank->4837 || 移动 Softbank->CMI
广州TCP:电信 Softbank->163 || 联通 NoData->4837 || 移动 Softbank->CMI
广州UDP:电信 Softbank->163 || 联通 Softbank->4837 || 移动 Softbank->CMI
三网回程路由(ipv6):
五、三网回程路由(线路可能随网络负载动态变化)
北京TCP:电信 HE->163 || 联通 HE->4837 || 移动 AS47311->CMI
北京UDP:电信 HE->163 || 联通 HE->4837 || 移动 AS22927->CMI
上海TCP:电信 HE->163 || 联通 HE->4837 || 移动 AS47311->CMI
上海UDP:电信 HE->163 || 联通 HE->4837 || 移动 AS22927->CMI
广州TCP:电信 HE->163 || 联通 HE->4837 || 移动 AS47311->CMI
广州UDP:电信 HE->163 || 联通 HE->4837 || 移动 AS22927->CMI
