lisahost最近新上线了香港有线宽频iCable双ISP家宽属性IP的VPS,官方说IP纯净、可看TVB、支持Cityline票务、解锁Netflix、Disney+、Youtube Premium、 Amazon Prime Video、Steam、INS、FB营销、WhatsApp营销等。本文将重点关注延迟、往返路由、带宽上下行数据、IP解锁流媒体、VPS性能等数据,仅供各位参考。

9折优惠码: TS-CBP205DQJE ,续费同价

服务器用的CPU型号为双路e5-2682v4(32核、64线程、主频2.5GHz、加速频率3.0GHz),底层为KVM虚拟,不支持IPv6,上游运营商为香港Cable TV,归属地香港,当前实测I/O大致740MB/S:

FIO实测数据读写的效果如下所示:

国内三网多节点的带宽上下行以及延迟的测试数据:

再看看在晚高峰期间的数据:

存放在测试VPS上的文件,站长广州联通家宽直接用Chrome下载,大致的下载速度如下:

再看看在晚高峰期间的下载速度:

晚高峰,西安电信的机器上下载上面的文件,大致的下载速度:

晚高峰,四川眉山联通的机器上下载速度:

晚高峰,广东江门移动的机器上的下载速度:

SpeedTest.Net的部分国际节点的带宽上下行及延迟测试数据:

SpeedTest.Net的部分亚洲节点的带宽上下行及延迟测试数据:

IPERF3部分国际节点的实测效果如下所示:

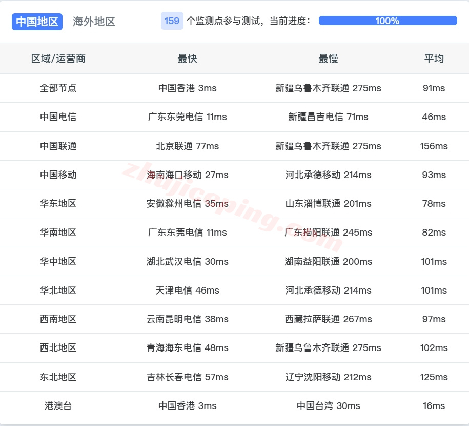
国内三网一百多个节点的延迟测试数据:


电信去程:走CN2去香港接HGC然后去hkcable

联通去程:直连香港接HKNET再去hkcable

移动去程:移动直达香港HKIX然后去hkcable

电信回程:
北京、广州方向:走cogent去美国洛杉矶、圣何塞、圣克拉拉再回国
上海方向:走NTT接电信香港CTG,然后过一跳CN2回内地



联通回程:
北京方向:走NTT接联通香港节点然后直连回内地
上海方向:走cogent先去洛杉矶、圣何塞再出海回国
广州联通:走TATA经过日本去美国洛杉矶再回国



移动回程:
北京电信:走TATA转接移动CMI直接回内地
上海方向:经过HKIX接移动CMI直接回内地
广州方向:走TATA经过日本再回国



多个数据库对当前IPv4的大致判断:香港原生IP,家宽属性,风险极低或者为0,解锁流媒体效果好

部分流媒体解锁的大致结果:

VPS性能测试,部分跑分如下所示:



大致总结下:
香港原生IP、家宽属性、解锁流媒体效果好;
VPS性能相当给力,跑分较高;
三网去程:都是直连香港之后再接其他线路去机房;
三网回程:电信和联通基本上都绕道美国,移动基本上从香港本体转移动直连内地少部分绕了日本,但是还是比电信和联通效果好。
